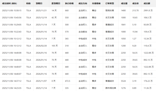
可盈配资一、美股指数期权一览 当前美股指数期权市场成交量略有上行可盈配资,认沽/认购比例上行。 今日到期的标普500指数期权成交量分布:Call单与Put单分布....
配配查_股配资平台_办理股票配资_配资炒股配资优秀/无论市场如何波动,我们都将为您提供最稳定的配资服务。全国前10,值得信赖。