当前美股指数期权市场成交量略有上行可盈配资,认沽/认购比例上行。
今日到期的标普500指数期权成交量分布:Call单与Put单分布存在分歧,Put单峰值在6640点,Call单峰值在6800点。
今日到期的纳斯达克100指数期权成交量分布:Call单峰值为25500,Put单峰值在25000点。
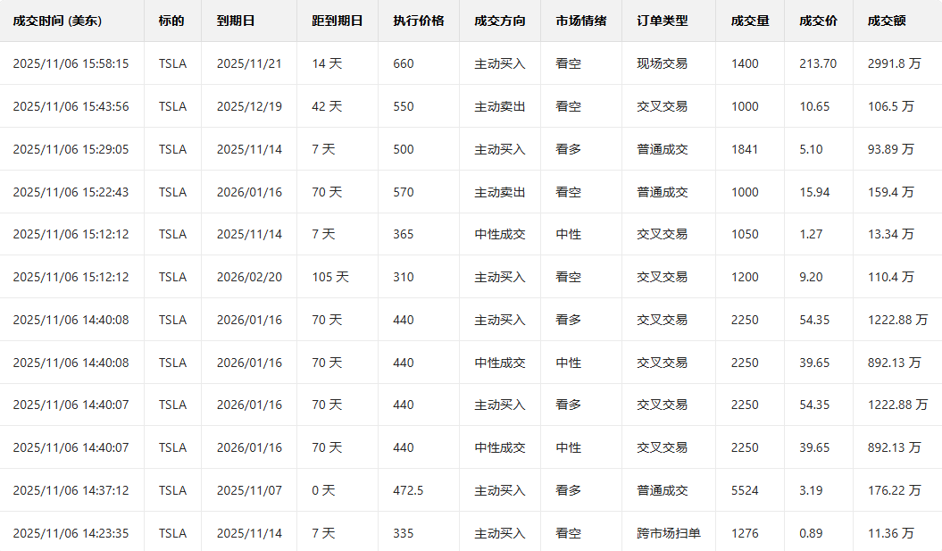
二、美股期权成交榜1、特斯拉上一交易日跌3.50%,前一日认沽/认购比例小幅上行可盈配资,成交量小幅度上行。
临收盘前,期权大户以看空为主。

消息面上,特斯拉在德克萨斯州奥斯汀超级工厂召开年度股东大会。经过现场与提前投票统计,股东以超过75%的赞成票通过了特斯拉首席执行官埃隆·马斯克(Elon Musk)的新一轮CEO薪酬激励方案——一份潜在价值接近1万亿美元的业绩对赌计划。该项决议的通过意味着:若马斯克在未来十年内完成方案设定的各项市值与运营里程碑,他将逐步获得公司约4.237亿股限制性股票(RSUs),其理论价值最高可达约1万亿美元;若目标未达成,则对应奖励失效。
2、Robinhood上一交易日跌10.81%,前一日认沽/认购比例小幅下行可盈配资,成交量大幅度上行。
观察本周五到期的Put单,多张涨幅翻2倍。

临收盘前,期权大户以看多为主。
美股期权成交量排行榜前十
美股引申波动幅度排行榜前十(标的市值>100亿美元,且期权成交量>10万美元)
三、美股ETF期权成交榜美股ETF期权成交量排行榜前十
美股ETF引申波幅排行榜前十(标的要求:市值>100亿美元)

配配查提示:文章来自网络,不代表本站观点。